全国威客小姐最新消息威客网接单平台 ,一品阁茶楼论坛官网入口 ,最新全国茶楼app免费的行情网站app软件合集,一凤一楼论坛官网

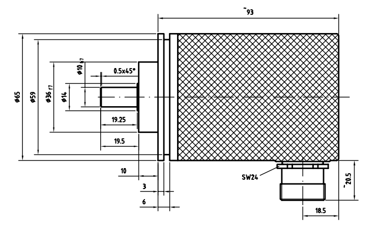
IK.DW.02A-3001,一款库伯勒通孔绝对值编码器的停产替代解决方案(Profibus-DP协议)

微信扫一扫,分享到朋友圈

IK.DW.02A-3001,一款库伯勒通孔绝对值编码器的停产替代解决方案(Profibus-DP协议)
展开阅读全文
+86 15050450799 Email:sividi365@gmail.com
上一篇

20-2951-500/2500,倍加福编码器停产型号的替代定制解决方案

下一篇

M6C-5S8XH51-T005,埃福创编码器的定制替代与解决方案分享(M6C-5S8HX51-T005)

你也可能喜欢

微信 微信
微信
返回顶部